 |
Matronics Email Lists Web Forum Interface to the Matronics Email Lists
|
| View previous topic :: View next topic |
| Author |
Message |
bakerocb
Joined: 15 Jan 2006 Posts: 727 Location: FAIRFAX VA
|
Posted: Mon Dec 31, 2012 7:13 pm Post subject: Indicator Help |
|
|
12/31/2012
Hello Bob Nuckolls and Fellow Listers, Here is the situation:
I have a spring bias pitch trim system in my KIS TR-1 experimental amateur built airplane. I am using a Ray Allen T3-12A servo with their RP 3 LED type indicator installed in my instrument panel. The 1.2 inch travel of the T3-12A servo is just not enough movement to give me the trim travel needed at both ends, nose up and nose down. See here:
http://www.rayallencompany.com/index.html
My intended solution is to purchase and install an electrical linear actuator with a position indicator such as this:
http://www.aeicomp.com/Detail.asp?Product_ID=302.390_6102TP&Product=Potentiometer+Feedback+2%22+Linear+Actuator+%28Speed+1%2F2%22+per+Sec%29+w%2F10K+Ohm+Pot++%22IP65+Rated%22
My questions:
Indicator Question 1: Could I possibly use the already installed Ray Allen LED indicator with the 10K OHM POT that this linear actuator is equipped with? See here:
http://www.aeicomp.com/image2/AE-6102TP.pdf
and here:
http://www.rayallencompany.com/RACmedia/instructionsRP3.pdf
Indicator Question 2: If so how would I connect the three LED indicator wires (orange, green (signal return), blue) to the three wires (white-ground, yellow-V input, blue-RS input) of the actuator?
Indicator Question 3: Assuming that I cannot use the Ray Allen LED indicator with this linear actuator where can I obtain an indicator that will work with this actuator? (AEI declines to help me with this question.)
Speed Control Question: The linear actuator is much faster than the Ray Allen actuator and I expect that I will have to slow down the linear actuator. What is the best way to accomplish this?
Many thanks for your help.
OC
'O C' Baker says "The best investment you can make is the effort to gather and understand information."
[quote][b]
| | - The Matronics AeroElectric-List Email Forum - | | | Use the List Feature Navigator to browse the many List utilities available such as the Email Subscriptions page, Archive Search & Download, 7-Day Browse, Chat, FAQ, Photoshare, and much more:
http://www.matronics.com/Navigator?AeroElectric-List |
|
|
|
| Back to top |
|
 |
bbradburry(at)bellsouth.n Guest
|
Posted: Mon Dec 31, 2012 8:45 pm Post subject: Indicator Help |
|
|
OC,
That linear actuator seems like overkill. Have you tried increasing the chord of the trim tab? You can increase the length of the control horn and or increase the chord of the tab and you should be able to use the servo you have.
RAC has a trim tab travel computer that shows the movement you will get with the different servos. Attached.
Bill B
| | - The Matronics AeroElectric-List Email Forum - | | | Use the List Feature Navigator to browse the many List utilities available such as the Email Subscriptions page, Archive Search & Download, 7-Day Browse, Chat, FAQ, Photoshare, and much more:
http://www.matronics.com/Navigator?AeroElectric-List |
|
| Description: |
|
 Download |
| Filename: |
trimtabtravelcomputer.pdf |
| Filesize: |
19.88 KB |
| Downloaded: |
633 Time(s) |
|
|
| Back to top |
|
 |
Mike Welch
Joined: 13 Feb 2011 Posts: 272
|
Posted: Tue Jan 01, 2013 3:10 am Post subject: Indicator Help |
|
|
On Dec 31, 2012, at 10:44 PM, Bill Bradburry wrote:
[quote] v\:* {behavior:url(#default#VML);} o\:* {behavior:url(#default#VML);} w\:* {behavior:url(#default#VML);} .shape {behavior:url(#default#VML);} <![endif]--> st1\:*{behavior:url(#default#ieooui) } <![endif]-->
OC,
That linear actuator seems like overkill. Have you tried increasing the chord of the trim tab? You can increase the length of the control horn and or increase the chord of the tab and you should be able to use the servo you have.
RAC has a trim tab travel computer that shows the movement you will get with the different servos. Attached.
Bill B
From: owner-aeroelectric-list-server(at)matronics.com (owner-aeroelectric-list-server(at)matronics.com) [mailto:owner-aeroelectric-list-server(at)matronics.com] On Behalf Of Owen Baker
Sent: Monday, December 31, 2012 10:12 PM
To: aeroelectric-list(at)matronics.com (aeroelectric-list(at)matronics.com)
Subject: AeroElectric-List: Indicator Help
12/31/2012
Hello Bob Nuckolls and Fellow Listers, Here is the situation:
I have a spring bias pitch trim system in my KIS TR-1 experimental amateur built airplane. I am using a Ray Allen T3-12A servo with their RP 3 LED type indicator installed in my instrument panel. The 1.2 inch travel of the T3-12A servo is just not enough movement to give me the trim travel needed at both ends, nose up and nose down. See here:
http://www.rayallencompany.com/index.html
My intended solution is to purchase and install an electrical linear actuator with a position indicator such as this:
http://www.aeicomp.com/Detail.asp?Product_ID=302.390_6102TP&Product=Potentiometer+Feedback+2%22+Linear+Actuator+%28Speed+1%2F2%22+per+Sec%29+w%2F10K+Ohm+Pot++%22IP65+Rated%22
My questions:
Indicator Question 1: Could I possibly use the already installed Ray Allen LED indicator with the 10K OHM POT that this linear actuator is equipped with? See here:
http://www.aeicomp.com/image2/AE-6102TP.pdf
and here:
http://www.rayallencompany.com/RACmedia/instructionsRP3.pdf
Indicator Question 2: If so how would I connect the three LED indicator wires (orange, green (signal return), blue) to the three wires (white-ground, yellow-V input, blue-RS input) of the actuator?
Indicator Question 3: Assuming that I cannot use the Ray Allen LED indicator with this linear actuator where can I obtain an indicator that will work with this actuator? (AEI declines to help me with this question.)
Speed Control Question: The linear actuator is much faster than the Ray Allen actuator and I expect that I will have to slow down the linear actuator. What is the best way to accomplish this?
Many thanks for your help.
OC
'O C' Baker says "The best investment you can make is the effort to gather and understand information."
012345
<trimtabtravelcomputer.pdf>[b]
| | - The Matronics AeroElectric-List Email Forum - | | | Use the List Feature Navigator to browse the many List utilities available such as the Email Subscriptions page, Archive Search & Download, 7-Day Browse, Chat, FAQ, Photoshare, and much more:
http://www.matronics.com/Navigator?AeroElectric-List |
|
|
|
| Back to top |
|
 |
bakerocb
Joined: 15 Jan 2006 Posts: 727 Location: FAIRFAX VA
|
Posted: Tue Jan 01, 2013 5:14 am Post subject: Indicator Help |
|
|
1/1/2013
Hello Bill, You wrote: “Have you tried increasing the chord of the trim tab?”
Thanks for your input. I left out one important piece of information in my posting. I do not have a trim tab. I am spring biasing the entire elevator push rod with a center stop spring bias system.
I have experimented extensively with spring strength and rod lengths for the springs and the only solution appears to be more center stop movement.
OC
==========================================
Time: 08:45:27 PM PST US
From: "Bill Bradburry" <bbradburry(at)bellsouth.net (bbradburry(at)bellsouth.net)>
Subject: RE: Indicator Help
OC,
That linear actuator seems like overkill. Have you tried increasing the
chord of the trim tab? You can increase the length of the control horn and
or increase the chord of the tab and you should be able to use the servo you
have.
RAC has a trim tab travel computer that shows the movement you will get with
the different servos. Attached.
Bill B
[quote][b]
| | - The Matronics AeroElectric-List Email Forum - | | | Use the List Feature Navigator to browse the many List utilities available such as the Email Subscriptions page, Archive Search & Download, 7-Day Browse, Chat, FAQ, Photoshare, and much more:
http://www.matronics.com/Navigator?AeroElectric-List |
|
|
|
| Back to top |
|
 |
hooverra
Joined: 18 Jan 2009 Posts: 11 Location: The Plains, Virginia
|
Posted: Tue Jan 01, 2013 6:19 am Post subject: Indicator Help |
|
|
OC,
If you have the ray Allen potentiometer measure it with an ohm meter and see if it 10k total. If so it will work. There is not enough info published on the Ray Allen to tell but a simple way to construct these LED indicators is with a series of comparators that compare the input voltage to a fixed voltage. In that case it would be fairly insensitive to the source impedance of the voltage within reason.
http://www.ti.com/lit/ds/symlink/lm3914.pdf
The linear actuator you have selected is quite beefy! How much force do you really need? Could you use a lever with the Ray Allen to increase the range of motion without running out of force required?
Ralph Hoover
Sent from my iPad
| | - The Matronics AeroElectric-List Email Forum - | | | Use the List Feature Navigator to browse the many List utilities available such as the Email Subscriptions page, Archive Search & Download, 7-Day Browse, Chat, FAQ, Photoshare, and much more:
http://www.matronics.com/Navigator?AeroElectric-List |
|
_________________ Ralph & Laura Hoover
RV7A N527LR |
|
| Back to top |
|
 |
retasker(at)optonline.net Guest
|
Posted: Tue Jan 01, 2013 10:52 am Post subject: Indicator Help |
|
|
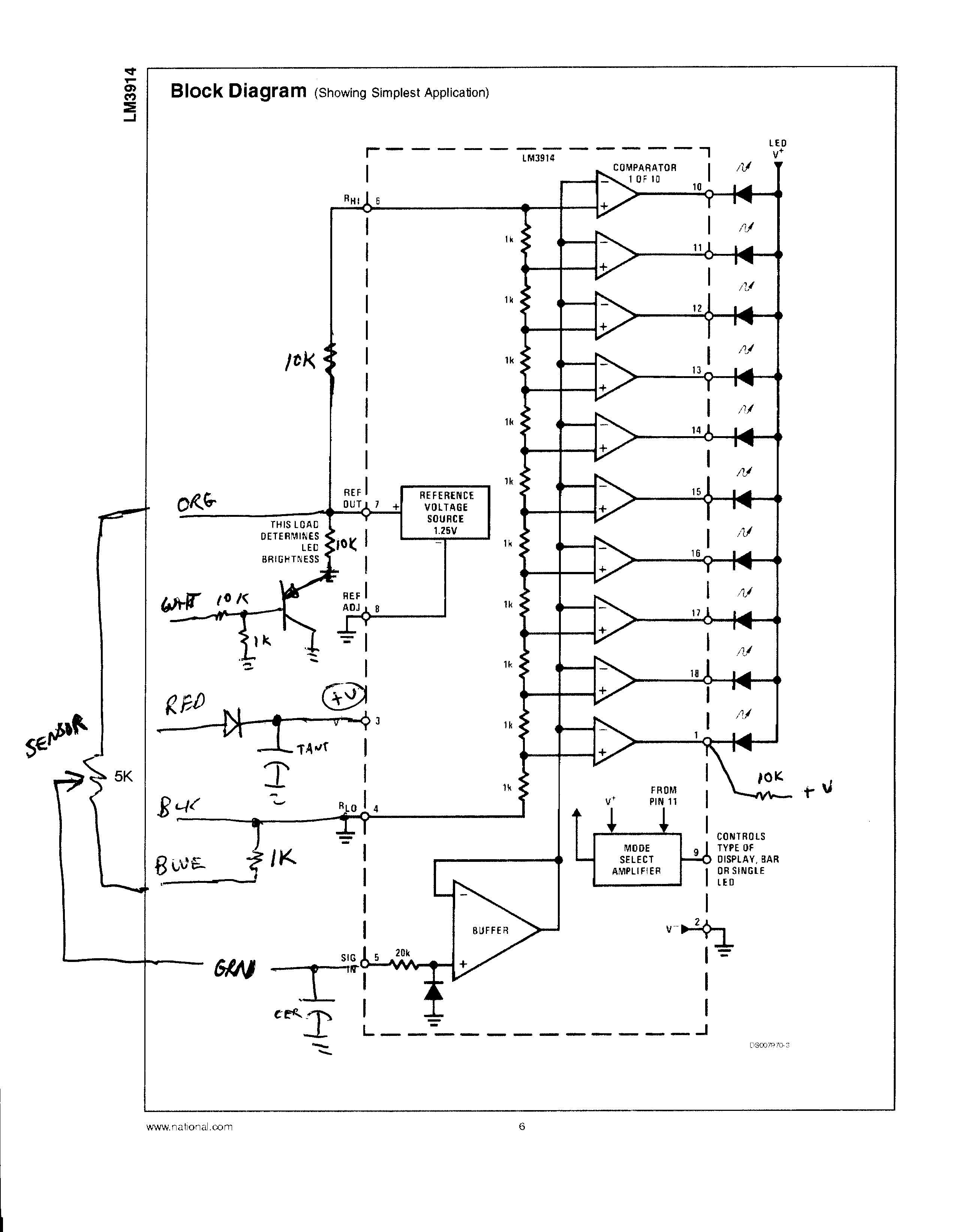
Here is the schematic for the Ray Allen indicator. As shipped it uses a 5k pot. Since the wiper of the pot drives a high impedance op amp node you could just add a 10K resistor in parallel with the
10K pot in your actuator (between white and yellow) and the LEDs should work properly.
With this schematic you should be able to figure out how to connect the actuator to the indicator. My best guess is shown below:
Actuator -> Indicator
White -> Blue (Common)
Yellow -> Orange (+V)
Blue -> Green (wiper)
If the pot is isolated then the orange and blue wires can be swapped if the indicator operates in reverse to what you want. If the actuator pot is not isolated (I assume it is) the the Ray Allen
indicator will not work quite right (the indicator blue wire is not at ground potential), but may be okay for your application.
Dick Tasker
Owen Baker wrote:
| Quote: | 12/31/2012
Hello Bob Nuckolls and Fellow Listers, Here is the situation:
I have a spring bias pitch trim system in my KIS TR-1 experimental amateur built airplane. I am using a Ray Allen T3-12A servo with their RP 3 LED type indicator installed in my instrument panel.
The 1.2 inch travel of the T3-12A servo is just not enough movement to give me the trim travel needed at both ends, nose up and nose down. See here:
http://www.rayallencompany.com/index.html
My intended solution is to purchase and install an electrical linear actuator with a position indicator such as this:
http://www.aeicomp.com/Detail.asp?Product_ID=302.390_6102TP&Product=Potentiometer+Feedback+2%22+Linear+Actuator+%28Speed+1%2F2%22+per+Sec%29+w%2F10K+Ohm+Pot++%22IP65+Rated%22
My questions:
Indicator Question 1: Could I possibly use the already installed Ray Allen LED indicator with the 10K OHM POT that this linear actuator is equipped with? See here:
http://www.aeicomp.com/image2/AE-6102TP.pdf
and here:
http://www.rayallencompany.com/RACmedia/instructionsRP3.pdf
Indicator Question 2: If so how would I connect the three LED indicator wires (orange, green (signal return), blue) to the three wires (white-ground, yellow-V input, blue-RS input) of the actuator?
Indicator Question 3: Assuming that I cannot use the Ray Allen LED indicator with this linear actuator where can I obtain an indicator that will work with this actuator? (AEI declines to help me
with this question.)
Speed Control Question: The linear actuator is much faster than the Ray Allen actuator and I expect that I will have to slow down the linear actuator. What is the best way to accomplish this?
Many thanks for your help.
OC
'O C' Baker says "The best investment you can make is the effort to gather and understand information."
*
*
|
--
Please Note:
No trees were destroyed in the sending of this message. We do concede, however,
that a significant number of electrons may have been temporarily inconvenienced.
--
| | - The Matronics AeroElectric-List Email Forum - | | | Use the List Feature Navigator to browse the many List utilities available such as the Email Subscriptions page, Archive Search & Download, 7-Day Browse, Chat, FAQ, Photoshare, and much more:
http://www.matronics.com/Navigator?AeroElectric-List |
|
| Description: |
|
| Filesize: |
93.83 KB |
| Viewed: |
56535 Time(s) |

|
|
|
| Back to top |
|
 |
n992dn(at)gmail.com Guest
|
Posted: Tue Jan 01, 2013 5:06 pm Post subject: Indicator Help |
|
|
Here are my suggestions:
1) Buy the linear actuator from here, same product better choice of models better product technical specifications
http://www.e-motionllc.com/ProductDetails.asp?ProductCode=FA%2DPO%2D150%2D12%2D2&Show=TechSpecs
2) If 1.2 is not sufficient, 2 will probably not suffice too to your application, select a product with higher stroke, 3 4 or so.
3) To reduce travel speed, select a product with lower speed. To reduce speed further more you can add power resistor in series to the motor, try valuesfrom 10 to 50 ohms. You can always get fancy with electronically regulated power supplies, but practically speaking a resistor with the right value will do the job
4) Last but not least: do not pay attention to the difference in pot impedance. The Allen Ray indicator will work just fine because it actually measures voltages between 0 to 12 volts and also both the pot circuit in the actuator and the input circuitry of the AR indicator are isolated from ground, you should haveno problem with the AR indicator if connected properly.
Best Regards
Nati Niv
RANS S6
Illinois
(PS: with field experience with both line of products)
On Mon, Dec 31, 2012 at 9:12 PM, Owen Baker <bakerocb(at)cox.net (bakerocb(at)cox.net)> wrote:
[quote] 12/31/2012
Hello Bob Nuckolls and Fellow Listers, Here is the situation:
I have a spring bias pitch trim system in my KIS TR-1 experimental amateur built airplane. I am using a Ray Allen T3-12A servo with their RP 3 LED type indicator installed in my instrument panel. The 1.2 inch travel of the T3-12A servo is just not enough movement to give me the trim travel needed at both ends, nose up and nose down. See here:
http://www.rayallencompany.com/index.html
My intended solution is to purchase and install an electrical linear actuator with a position indicator such as this:
http://www.aeicomp.com/Detail.asp?Product_ID=302.390_6102TP&Product=Potentiometer+Feedback+2%22+Linear+Actuator+%28Speed+1%2F2%22+per+Sec%29+w%2F10K+Ohm+Pot++%22IP65+Rated%22
My questions:
Indicator Question 1: Could I possibly use the already installed Ray Allen LED indicator with the 10K OHM POT that this linear actuator is equipped with? See here:
http://www.aeicomp.com/image2/AE-6102TP.pdf
and here:
http://www.rayallencompany.com/RACmedia/instructionsRP3.pdf
Indicator Question 2: If so how would I connect the three LED indicator wires (orange, green (signal return), blue) to the three wires (white-ground, yellow-V input, blue-RS input) of the actuator?
Indicator Question 3: Assuming that I cannot use the Ray Allen LED indicator with this linear actuator where can I obtain an indicator that will work with this actuator? (AEI declines to help me with this question.)
Speed Control Question: The linear actuator is much faster than the Ray Allen actuator and I expect that I will have to slow down the linear actuator. What is the best way to accomplish this?
Many thanks for your help.
OC
'O C' Baker says "The best investment you can make is the effort to gather and understand information."
| Quote: |
"_blank">www.aeroelectric.com
.com/" target="_blank">www.buildersbooks.com
="_blank">www.homebuilthelp.com
_blank">http://www.matronics.com/contribution
ist" target="_blank">http://www.matronics.com/Navigator?AeroElectric-List
ttp://forums.matronics.com
|
[b]
| | - The Matronics AeroElectric-List Email Forum - | | | Use the List Feature Navigator to browse the many List utilities available such as the Email Subscriptions page, Archive Search & Download, 7-Day Browse, Chat, FAQ, Photoshare, and much more:
http://www.matronics.com/Navigator?AeroElectric-List |
|
|
|
| Back to top |
|
 |
retasker(at)optonline.net Guest
|
Posted: Tue Jan 01, 2013 7:32 pm Post subject: Indicator Help |
|
|
Nati Niv wrote:
| Quote: |
<snip>
4)Last but not least: do not pay attention to the difference in pot impedance. The Allen Ray indicator will work just fine because it actually measures voltages between 0 to 12 volts and also both
the pot circuit in the actuator and the input circuitry of the AR indicator are isolated from ground, you should have no problem with the AR indicator if connected properly.
It actually does NOT measure voltages between 0-12V unless they have changed the design recently. See the circuit diagram I sent earlier. It measures from an internal 1.26V reference through a 5K
|
pot and a 1K resistor in series.
And it is Ray Allen...
Dick Tasker
--
Please Note:
No trees were destroyed in the sending of this message. We do concede, however,
that a significant number of electrons may have been temporarily inconvenienced.
--
| | - The Matronics AeroElectric-List Email Forum - | | | Use the List Feature Navigator to browse the many List utilities available such as the Email Subscriptions page, Archive Search & Download, 7-Day Browse, Chat, FAQ, Photoshare, and much more:
http://www.matronics.com/Navigator?AeroElectric-List |
|
|
|
| Back to top |
|
 |
Eric M. Jones

Joined: 10 Jan 2006 Posts: 565 Location: Massachusetts
|
Posted: Wed Jan 02, 2013 6:02 am Post subject: Re: Indicator Help |
|
|
As Dick Tasker posted, the reference voltage for the Ray Allen pot, which is routed way way way back to the trim box--probably right along side transmitter cables, etc, is 1.26V. This is the full-scale voltage available to the op amp feeding the bar graph circuitry. At the first digit it is 0.126V...and how anybody can expect no interference from transmitters, strobe...well, when pigs have wings, bacon will fly.
The venerable LM914-based bar graph display is difficult to get (or make) in a sunlight readable form. These have succumbed to microprocessor-driven displays.
I have posted several notes on this over the years, and have built a few devices to allow various options.
But I want to say that the Ray Allen trim box is really a pretty good part. There are only a few things one can do to improve it. And I am not at all sure the alternative parts are any better.
To reduce the speed of the trimmer, one needs to maintain the torque, but these devices are easy to get. Matt from Matronics sells one. See: http://www.matronics.com/governor/index.htm.
I have vaporware device that will do this automatically depending on airspeed. But I have sold a lot of trimmers based on a potentiometer which seem to reduce this problem, since the potentiometer can be turned just a little, whereas a pushbutton or momentary switch lacks some finesse. I also uses no relay.
Unfortunately our amazing "Cessna-Type Trim Wheel" is being retired. Reason: Too much labor in the assembly.
| | - The Matronics AeroElectric-List Email Forum - | | | Use the List Feature Navigator to browse the many List utilities available such as the Email Subscriptions page, Archive Search & Download, 7-Day Browse, Chat, FAQ, Photoshare, and much more:
http://www.matronics.com/Navigator?AeroElectric-List |
|
| Description: |
|
 Download |
| Filename: |
TSCMR Installation Manual.pdf |
| Filesize: |
166.7 KB |
| Downloaded: |
638 Time(s) |
_________________ Eric M. Jones
www.PerihelionDesign.com
113 Brentwood Drive
Southbridge, MA 01550
(508) 764-2072
emjones(at)charter.net |
|
| Back to top |
|
 |
user9253
Joined: 28 Mar 2008 Posts: 1969 Location: Riley TWP Michigan
|
Posted: Wed Jan 02, 2013 6:20 am Post subject: Re: Indicator Help |
|
|
Here is another source for linear actuators:
http://firgelli.com/products.php
| | - The Matronics AeroElectric-List Email Forum - | | | Use the List Feature Navigator to browse the many List utilities available such as the Email Subscriptions page, Archive Search & Download, 7-Day Browse, Chat, FAQ, Photoshare, and much more:
http://www.matronics.com/Navigator?AeroElectric-List |
|
_________________ Joe Gores |
|
| Back to top |
|
 |
hooverra
Joined: 18 Jan 2009 Posts: 11 Location: The Plains, Virginia
|
Posted: Wed Jan 02, 2013 9:57 pm Post subject: Re: Indicator Help |
|
|
[quote="retasker(at)optonline.net"]Here is the schematic for the Ray Allen indicator. As shipped it uses a 5k pot. Since the wiper of the pot drives a high impedance op amp node you could just add a 10K resistor in parallel with the
10K pot in your actuator (between white and yellow) and the LEDs should work properly.
Dick Tasker
Dick,
I believe adding a 10k parallel fixed resistor wil not add anything to the issue. True the total load on the power supply would be equal but the voltage divider provided by the potentiometer would be unaffected. At the center of travel the source impedience of the potentiometer should look like 2.5k with a 5k linear pot and 5k with a 10 k pot. The input of the indicator should not care if it is a high impedience >100k. If less than that it will become more noticeably nonlinear.
Ralph
| | - The Matronics AeroElectric-List Email Forum - | | | Use the List Feature Navigator to browse the many List utilities available such as the Email Subscriptions page, Archive Search & Download, 7-Day Browse, Chat, FAQ, Photoshare, and much more:
http://www.matronics.com/Navigator?AeroElectric-List |
|
_________________ Ralph & Laura Hoover
RV7A N527LR |
|
| Back to top |
|
 |
retasker(at)optonline.net Guest
|
Posted: Thu Jan 03, 2013 1:21 pm Post subject: Indicator Help |
|
|
You are correct in your analysis except you neglected to note that the 5K pot is in series with a 1K resistor. With the
5K pot the voltage going into the op amp will vary from 0.21V to 1.26V. With a 10K pot it will vary from 0.11V to
1.26V. This will cause a small dead band in the indication at the bottom end of the travel of the actuator while the
actuator moves enough to cause the output to move from 0.11V to 0.21V - almost 10% of its travel. If you parallel a 10K
resistor with the pot the op amp will once again see 0.21V to 1.26V and the indicator will properly indicate the
actuator position.
Of course, depending on how much the actuator actually moves this may be irrelevant.
Dick Tasker.
hooverra wrote:
| Quote: |
[quote="retasker(at)optonline.net"]Here is the schematic for the Ray Allen indicator. As shipped it uses a 5k pot. Since the wiper of the pot drives a high impedance op amp node you could just add a 10K resistor in parallel with the
10K pot in your actuator (between white and yellow) and the LEDs should work properly.
Dick Tasker
Dick,
I believe adding a 10k parallel fixed resistor wil not add anything to the issue. True the total load on the power supply would be equal but the voltage divider provided by the potentiometer would be unaffected. At the center of travel the source impedience of the potentiometer should look like 2.5k with a 5k linear pot and 5k with a 10 k pot. The input of the indicator should not care if it is a high impedience >100k. If less than that it will become more noticeably nonlinear.
Ralph
--------
Ralph & Laura Hoover
RV7A N527LR
Read this topic online here:
http://forums.matronics.com/viewtopic.php?p=391511#391511
|
| | - The Matronics AeroElectric-List Email Forum - | | | Use the List Feature Navigator to browse the many List utilities available such as the Email Subscriptions page, Archive Search & Download, 7-Day Browse, Chat, FAQ, Photoshare, and much more:
http://www.matronics.com/Navigator?AeroElectric-List |
|
|
|
| Back to top |
|
 |
|
|
You cannot post new topics in this forum You cannot reply to topics in this forum You cannot edit your posts in this forum You cannot delete your posts in this forum You cannot vote in polls in this forum You cannot attach files in this forum You can download files in this forum
|
Powered by phpBB © 2001, 2005 phpBB Group
|