  | 
				Matronics Email Lists Web Forum Interface to the Matronics Email Lists   
				 | 
			 
		 
		 
	
		| View previous topic :: View next topic   | 
	 
	
	
		| Author | 
		Message | 
	 
	
		rlalonde
 
 
  Joined: 20 Nov 2006 Posts: 43
 
  | 
		
			
				 Posted: Tue Mar 20, 2007 3:10 pm    Post subject: Making an LRI probe | 
				     | 
			 
			
				
  | 
			 
			
				Hi
 Any suggestions on how to make the probe? Drilling 5 7/8 (quite deep)into 
 the aluminum AND keeping it straight!!
 Any suggestions??
 Is this a job for a machine shop only?
 Really anxious to try this thing out!!!!
 Ron
 
 _________________________________________________________________
 Have Some Fun Out Of The Sun This March Break 
 http://local.live.com/?mkt=en-ca/?v &cid=A6D6BDB4586E357F!142
 
  |  | - The Matronics Zenith-List Email Forum - |  |   |  Use the List Feature Navigator to browse the many List utilities available such as the Email Subscriptions page, Archive Search & Download, 7-Day Browse, Chat, FAQ, Photoshare, and much more:
 
  http://www.matronics.com/Navigator?Zenith-List |  
  |  
 
 
 
  
 | 
			 
		  | 
	 
	
		| Back to top | 
		 | 
	 
	
		  | 
	 
	
		secatur
 
  
  Joined: 02 Nov 2006 Posts: 50 Location: New Zealand
  | 
		
			
				 Posted: Tue Mar 20, 2007 3:27 pm    Post subject: Re: Making an LRI probe | 
				     | 
			 
			
				
  | 
			 
			
				Just wondering if it is possible to make the LRI probe out of Aluminiun Tubing ? (Like the Pitot tube only 2 tubes strapped together at proper distances etc.)
 
 Anyone , any ideas ?
 
 Steve
 
  |  | - The Matronics Zenith-List Email Forum - |  |   |  Use the List Feature Navigator to browse the many List utilities available such as the Email Subscriptions page, Archive Search & Download, 7-Day Browse, Chat, FAQ, Photoshare, and much more:
 
  http://www.matronics.com/Navigator?Zenith-List |  
  |  
 
 
 
  
 | 
			 
		  | 
	 
	
		| Back to top | 
		 | 
	 
	
		  | 
	 
	
		secatur
 
  
  Joined: 02 Nov 2006 Posts: 50 Location: New Zealand
  | 
		
			
				 Posted: Tue Mar 20, 2007 4:05 pm    Post subject: Re: Making an LRI probe | 
				     | 
			 
			
				
  | 
			 
			
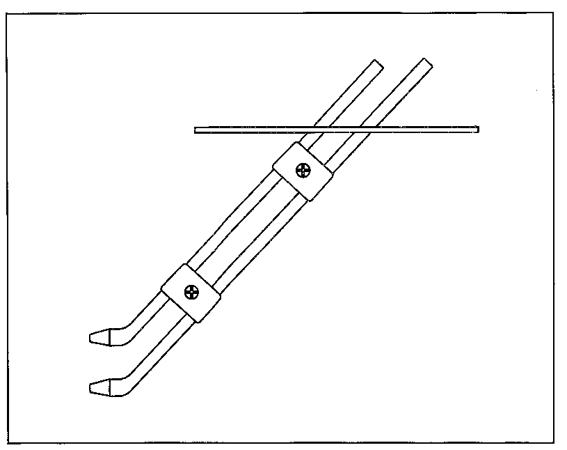
				Sorta like this ?
 
  |  | - The Matronics Zenith-List Email Forum - |  |   |  Use the List Feature Navigator to browse the many List utilities available such as the Email Subscriptions page, Archive Search & Download, 7-Day Browse, Chat, FAQ, Photoshare, and much more:
 
  http://www.matronics.com/Navigator?Zenith-List |  
  |  
 
 
 
  
	
  
	 
	
	
		
	 
	
		|  Description: | 
		
			
		 | 
	 
	
		|  Filesize: | 
		 65.67 KB | 
	 
	
		|  Viewed: | 
		 480 Time(s) | 
	 
	
		
  
 
  | 
	 
	 
	 
 | 
			 
		  | 
	 
	
		| Back to top | 
		 | 
	 
	
		  | 
	 
	
		p.mulwitz(at)worldnet.att Guest
 
 
 
 
 
  | 
		
			
				 Posted: Tue Mar 20, 2007 4:26 pm    Post subject: Making an LRI probe | 
				     | 
			 
			
				
  | 
			 
			
				Hi Steve,
 
 I suppose it would be possible to redesign the LRI probe, but I don't 
 know how you plan to make it work correctly.  I looked at my probe 
 for a while and learned (I think) that the critical part of the probe 
 is the ridge formed by the leading corner of metal.  It is this 
 structure that divides the airflow into two parts for sampling at the 
 two input holes.
 
 The tube design would be OK for conducting the pressure to the gauge, 
 but you still need a way to get the differential pressure sample from 
 the airflow.
 
 I don't think it is all that hard to drill the holes in the solid 
 aluminum as shown in the LRI drawing.  I did it in an hour or two 
 with a drill press and hand held drill.  I don't remember what kind 
 of drill bits I used, but it might have included some of those 6" 
 "Aircraft" drills.
 
 Good luck,
 
 Paul
 XL fuselage
 At 03:27 PM 3/20/2007, you wrote:
 
 ---------------------------------------------
 Paul Mulwitz
 32013 NE Dial Road
 Camas, WA 98607
 ---------------------------------------------
 
  |  | - The Matronics Zenith-List Email Forum - |  |   |  Use the List Feature Navigator to browse the many List utilities available such as the Email Subscriptions page, Archive Search & Download, 7-Day Browse, Chat, FAQ, Photoshare, and much more:
 
  http://www.matronics.com/Navigator?Zenith-List |  
  |  
 
 
 
  
 | 
			 
		  | 
	 
	
		| Back to top | 
		 | 
	 
	
		  | 
	 
	
		secatur
 
  
  Joined: 02 Nov 2006 Posts: 50 Location: New Zealand
  | 
		
			
				 Posted: Tue Mar 20, 2007 5:00 pm    Post subject: Re: Making an LRI probe | 
				     | 
			 
			
				
  | 
			 
			
				Hi Paul,
 I don't think it is all that hard to drill your design either, and if you are correct about the differential pressure bit, you are probably right about a lot of stuffing around to get something that works correctly.
 
 However, I'm sure it can be made to work, and as I have an "Enigma" EFIS that has the LRI/AOA Gauge built in I'm gonna experiment a bit with it. ('Cos I'm like that! LOL!)
 
 Cheers,
 Steve
 
  |  | - The Matronics Zenith-List Email Forum - |  |   |  Use the List Feature Navigator to browse the many List utilities available such as the Email Subscriptions page, Archive Search & Download, 7-Day Browse, Chat, FAQ, Photoshare, and much more:
 
  http://www.matronics.com/Navigator?Zenith-List |  
  |  
 
 
 
  
 | 
			 
		  | 
	 
	
		| Back to top | 
		 | 
	 
	
		  | 
	 
	
		paulrod36(at)msn.com Guest
 
 
 
 
 
  | 
		
			
				 Posted: Wed Mar 21, 2007 2:39 pm    Post subject: Making an LRI probe | 
				     | 
			 
			
				
  | 
			 
			
				<?xml:namespace prefix="v" /><?xml:namespace prefix="o" /><![endif]-->  Re the "sorta like this", illustration, I also made a lot of aluminum  shavings, trying to properly drill the *&^%$ probe.  I think, though,  that the magic comes from the differential pressure generated by the square nose  of the probe, with the inlets on upper and lower sides of the corner of the  block of aluminum. I put mine on the shelf for a while, but I plan to make a  probe equivalent to my longest drill's flutes, and then mount it with tubes held  rigidly. May not work, but worth a try.
   
  Paul Rodriguez
  601XL/Corvair
  [quote]   ---
 
  |  | - The Matronics Zenith-List Email Forum - |  |   |  Use the List Feature Navigator to browse the many List utilities available such as the Email Subscriptions page, Archive Search & Download, 7-Day Browse, Chat, FAQ, Photoshare, and much more:
 
  http://www.matronics.com/Navigator?Zenith-List |  
  |  
 
 
 
  
 | 
			 
		  | 
	 
	
		| Back to top | 
		 | 
	 
	
		  | 
	 
	
		taffy0687(at)yahoo.com Guest
 
 
 
 
 
  | 
		
			
				 Posted: Wed Mar 21, 2007 3:24 pm    Post subject: Making an LRI probe | 
				     | 
			 
			
				
  | 
			 
			
				I am going to drill mine from each end, than weld one end closed. A 
   Fritz
 
 paulrod36(at)msn.com wrote:
   [quote]      <?xml:namespace prefix="v" /><?xml:namespace prefix="o" /><![endif]-->    Re the "sorta like this", illustration, I also made a lot of aluminum shavings, trying to properly drill the *&^%$ probe.  I think, though, that the magic comes from the differential pressure generated by the square nose of the probe, with the inlets on upper and lower sides of the corner of the block of aluminum. I put mine on the shelf for a while, but I plan to make a probe equivalent to my longest drill's flutes, and then mount it with tubes held rigidly. May not work, but worth a try.
    
   Paul Rodriguez
    601XL/Corvair
   [quote]  ---
 
  |  | - The Matronics Zenith-List Email Forum - |  |   |  Use the List Feature Navigator to browse the many List utilities available such as the Email Subscriptions page, Archive Search & Download, 7-Day Browse, Chat, FAQ, Photoshare, and much more:
 
  http://www.matronics.com/Navigator?Zenith-List |  
  |  
 
 
 
  
 | 
			 
		  | 
	 
	
		| Back to top | 
		 | 
	 
	
		  | 
	 
	
		rjscep(at)yahoo.com Guest
 
 
 
 
 
  | 
		
			
				 Posted: Wed Mar 21, 2007 8:50 pm    Post subject: Making an LRI probe | 
				     | 
			 
			
				
  | 
			 
			
				 	  | Quote: | 	 		   Greetings. I drilled a solid piece of aluminum like
  the drawing said, however I did find that the 1/8 
  hole drilled out for the 3/16 hole was in the wrong 
  place. The dim. says drill it a half inch from the
  bottom and it doesn't come out in the right place, 
  so I made it 3/4 of an inch from the bottom. I used
  a #60 drill bit for a starter and drilled it 
  straight first and then changed the angle to get my
  45 degree hole. I also got brass fittings, they are
  a better fit on the bar. As far as making the face
  on the guage is concerned, I hand painted the 
  markings red, yellow and green. I used ordinary 
  hobby paints and I masked out the positions with
  contact paper, using an exacto knife I peeled away >
 each part of the paper and painted that area, 
 | 	  
  	  | Quote: | 	 		   letting it dry and then proceeded with the other 
  places. If yoiu used the markings on the original
  plate it helps a lot to draw out the areas to be 
  painted and a French curve to get the proper arc too
  Do not archive
 --- paulrod36(at)msn.com wrote:
 | 	  
 
 [quote] Re the "sorta like this", illustration, I also made
  a lot of aluminum shavings, trying to properly drill
  the *&^%$ probe.  I think, though, that the magic
  comes from the differential pressure generated by
  the square nose of the probe, with the inlets on
  upper and lower sides of the corner of the block of
  aluminum. I put mine on the shelf for a while, but I
  plan to make a probe equivalent to my longest
  drill's flutes, and then mount it with tubes held
  rigidly. May not work, but worth a try.
  
  Paul Rodriguez
  601XL/Corvair
    ---
 
  |  | - The Matronics Zenith-List Email Forum - |  |   |  Use the List Feature Navigator to browse the many List utilities available such as the Email Subscriptions page, Archive Search & Download, 7-Day Browse, Chat, FAQ, Photoshare, and much more:
 
  http://www.matronics.com/Navigator?Zenith-List |  
  |  
 
 
 
  
 | 
			 
		  | 
	 
	
		| Back to top | 
		 | 
	 
	
		  | 
	 
	
		cgbrt(at)mondenet.com Guest
 
 
 
 
 
  | 
		
			
				 Posted: Fri Mar 23, 2007 8:27 pm    Post subject: Making an LRI probe | 
				     | 
			 
			
				
  | 
			 
			
				Yes, Bend the lower one 30 degrees down; top as normal pitot.
 Carl
 701
 
  |  | - The Matronics Zenith-List Email Forum - |  |   |  Use the List Feature Navigator to browse the many List utilities available such as the Email Subscriptions page, Archive Search & Download, 7-Day Browse, Chat, FAQ, Photoshare, and much more:
 
  http://www.matronics.com/Navigator?Zenith-List |  
  |  
 
 
 
  
 | 
			 
		  | 
	 
	
		| Back to top | 
		 | 
	 
	
		  | 
	 
	
		 | 
	 
 
  
	 
	    
	   | 
	
You cannot post new topics in this forum You cannot reply to topics in this forum You cannot edit your posts in this forum You cannot delete your posts in this forum You cannot vote in polls in this forum You cannot attach files in this forum You can download files in this forum
  | 
   
 
  
Powered by phpBB © 2001, 2005 phpBB Group
  
		 |